Parts Search
575 North Route 73, Ste C2
West Berlin, NJ 08091

Tel: 1-856-809-2796
Categories

Vehicle Diagrams
ATV, Scooter and DB Parts
Full Size Scooter parts

Scan QR Code with Smartphone

http://www.fancyscooters.com

To load this site!


Scooters & Parts Search
  BY SKU:

  BY PRICE:
from to

  BY KEYWORDS:

  BY CATEGORY:

Payment Methods

Pay To: paypal@ddserv.net

Track Your Order
FedEx UPS Estes
USPS Yellow OD

Other Links
Gas Scooter User Manual
Electric Scooter User Manual
Scooter Maintenance
Scooter Safety Rules
Scooter Law by State
US/Metric Units Convertion

Link Exchange
Success Industrial Company
Dynamic Data Services
ACOI Management System




Designed By

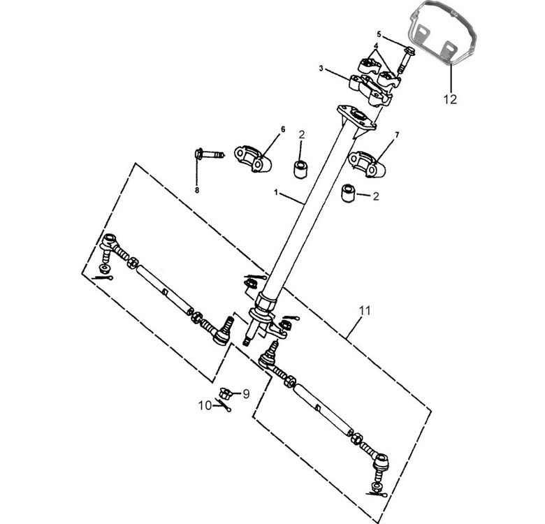
Steering Stem
方向柱


Num.Man. SKUItem NameChineseQtyDetails
1 FTP110(7)313000 Steering stem方向柱组件 1 FSI Part Links
2 FTP110(7)313004 Bush衬套 2 FSI Part Links
3 FTP110(7)313005 Holder handle under卡座 1 FSI Part Links
4 FTP110(7)313002 Holder handle卡子 2 FSI Part Links
5 GB5787 Bolt M8x55螺栓M8×55 4 FSI Part Links
6 FTP110(7)190003 Plane bearing steering方向柱卡子 2 FSI Part Links
7 FTP110(7)313001 steering stem clamp方向柱卡子 1 FSI Part Links
8 GB5787 Bolt M8x60螺栓M8×60 2 FSI Part Links
9 FTP110(7)313011 Washer lock方向柱锁紧片 1 FSI Part Links
10 FTP110(7)313012 Collar方向柱固定座衬套 2 FSI Part Links
11 FTP110(7)313013 Tie rod assy转向拉杆总成 2 FSI Part Links
12 FTP110(7)313014 Helmet bracket头罩支架 1 FSI Part Links

Recently we have found some companies copy the pictures and text, especially from the scooter parts section of this website without our permission, these are copyrighted materials, and we reserve the right, at our discretion, to take necessary legal action against copyright infringement on this site!

Home | Dealers | Login | FAQ | Policies | Products | About Us | Contact Us | Order Form | Testimonials | In Fox News...

Copyright © 2012 Fancy Scooters
575 North Route 73, Suite C2, West Berlin, NJ 08091, USA
Tel: 856-809-2796